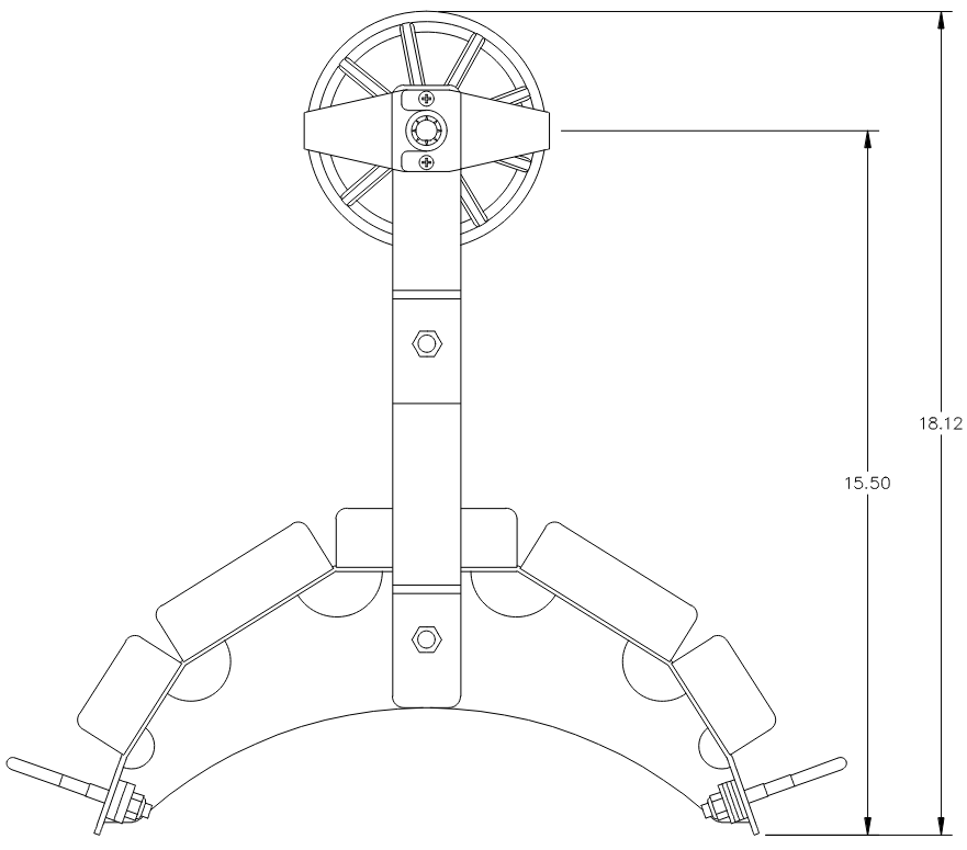
Cable Cradle - Maximum Cable Size
ETC's Cable Cradles allow for an SO cable with a maximum diameter of 1-13/16" [1.8125", 46 mm].
- The maximum diameter covers all SO cable diameters ETC commonly provides on Systems projects.
Single Purchase Cable Cradle (8001A2080) & Add-On Cable Cradle (8001A2081)

Double Purchase Cable Cradle (8001A2079)


